喷射器官方网站!
  • 咨询热线:18962815588
  •  
    ——   产品展示   ——
    PRODUCTS  CENTER
    静态混合器
    煤气混合器
    蒸汽混合器
    纤维除雾器
    管式反应器
    SN分配器
    蒸汽减温器
    喷射混合器
    汽水混合器
    液氯汽化器
    粉末输送设备
    粉体混合设备
    液体搅拌设备
    旋风分离器
    切水器
    消音器
    急冷塔
    调合器
    润滑设备
    乳化机
    洗眼器
    反应器
    喷射器
    呼吸阀
    阻火器
    过滤器
    点阀箱
    排水器
    除污器
    采样器
    脱水器
    分水器
    视镜
    量油孔
    发生器
    油罐附件

    24小时咨询热线
    18962815588

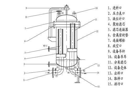
    聚洁分离器


    聚结分离器的原理是液滴的尺寸及其到两种液体分界面必须沉降的距离显著地影响液滴的沉降过程。对(分离器)内件的巧妙选择可以改变这些因素加快分离。 利用多层水平平行板,可以在同一容器中形成许多分界面,从而显著地缩小分离容器的可以在同一容器中形成许多分界面,从而显著地缩小分离容器的尺寸。用此技术可以有效地对50-100微米的分散相实现分离,在可能有固体或焦油状液体存在时,是设备设计的首选。

    产品简介 :
    聚结分离器的原理是液滴的尺寸及其到两种液体分界面必须沉降的距离显著地影响液滴的沉降过程。对(分离器)内件的巧妙选择可以改变这些因素加快分离。 利用多层水平平行板,可以在同一容器中形成许多分界面,从而显著地缩小分离容器的可以在同一容器中形成许多分界面,从而显著地缩小分离容器的尺寸。用此技术可以有效地对50-100微米的分散相实现分离,在可能有固体或焦油状






  • 上一页:油水分离器
  • 下一页:陶瓷精细过滤器
  • 相关新闻
    标题:喷射器结构
    简介:喷射器结构 喷射器结构是以离心风机(空压机、罗茨风机)为动力气源,运用气固两相流原理,以流态化技术,射流技术和压差原理相结合,以电动旋转供料器为供料装置,将物料送入料气混合室,物料在料气混合室流态化的同时,利用双环状喷嘴产生的高速气流将物料送入加速室,活性炭喷射器以悬浮流进入输送管道,利用气力压差将物料沿管道送入烟气管道内。料气分离,活性炭吸附二噁英后经布袋除尘器过滤后将气体排入大气。 喷射器结构特点: 1、投资省、运...... [详细]
     
    手机:18962815588  邮箱:18962815588@189.cn  地址:江苏启东城东工业园区76号
    喷射器版权所有    备案号:苏ICP备2021022551号-1

    苏公网安备32068102810187号

    24小时咨询热线:
    18962815588